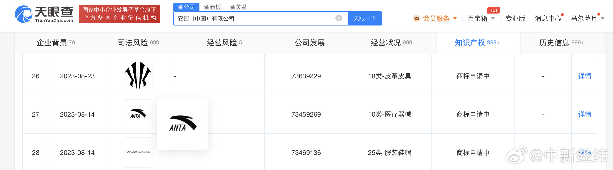
据报道,安踏体育10月31日晚间在港交所公告,为配合集团企业形象一致性,更改其公司标志,即时生效。天眼查App显示,近期,安踏(中国)有限公司已申请安踏新标志商标“ANTA”,国际分类为医疗器械,当前商标状态为等待实质审查。
推荐阅读
被驱逐出中国的他,早就“翻车”了
让国产抗癌药卖到日本的他,终于火了!
遇刺5个月后,这国总理来中国了
继任者定了!曾是化学老师
“逃”到美国的皇室女,“金主”破产了
原创精选
“真骨性方能爱国,真事业方能救国”
来自“圣诞老人故乡”的总统,突现故宫
官方微信
官方微博
今日头条
川公网安备51019002004313号